山东高密一化工车间爆炸,为豪放集团 成员公司,实控人张恭运身价130亿,旗下豪放科技暴涨超10倍市值480亿

摘要

据央视消息,5月27日正午 ,山东高好友道化学有限公司一车间产生 爆炸变乱。现场浓烟密布直冲天际,当地正组织救援救 治,周边村庄不少农户、商店的玻璃被震碎,室内一片散乱。据报道,现场人员已疏散完毕,附近一公里

据央视消息,5月27日正午 ,山东高好友道化学有限公司一车间产生 爆炸变乱。

现场浓烟密布直冲天际,当地正组织救援救 治,周边村庄不少农户、商店的玻璃被震碎,室内一片散乱。据报道,现场人员已疏散完毕,附近一公里区域举行封闭 。

山东高密一化工车间爆炸,为豪放集团
成员公司,实控人张恭运身价130亿,旗下豪放科技暴涨超10倍市值480亿

资料显示,山东友道化学有限公司建立于2019年,是山东豪放集团 控股公司,位于山东省潍坊市,是一家以从事化学质料和化学制品制造业为主的企业。企业注册资本 100000万人夷易近 币,实缴资本 100000万人夷易近 币。公司专注于高效低毒农药及中心体临盆 ,主要产品 包罗氯虫苯甲酰胺原药及其中 心体、甲氧虫酰肼中心体2-甲基-3-甲氧基苯甲酸/酰氯、苯菌酮中心体2-甲基-6-甲氧基苯甲酸、替米沙坦中心体3-甲基-4-氨基苯甲酸、医药中心体2-硝基-5-甲基苯甲酸、3-硝基-4-甲基苯甲酸、2-甲基-3-硝基苯甲酸等。

山东高密一化工车间爆炸,为豪放集团
成员公司,实控人张恭运身价130亿,旗下豪放科技暴涨超10倍市值480亿

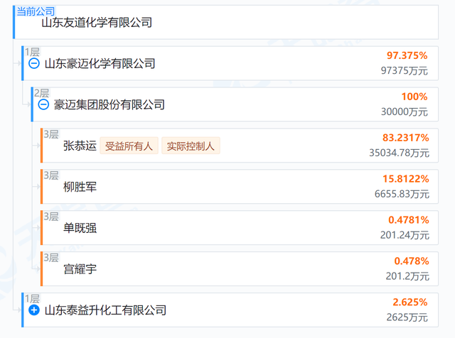
根据天眼查信息,山东豪放化学有限公司为友道化学控股股东,持股97.375%,前者为豪放集团 的全资子公司。爆炸变乱产生 后,与豪放集团 属同一实控人控制的豪放科技午后跳水,一度跌超4%。

山东高密一化工车间爆炸,为豪放集团
成员公司,实控人张恭运身价130亿,旗下豪放科技暴涨超10倍市值480亿

豪放科技去年营业收入88亿元,净利润20亿元,今年一季度的数据为22.79亿元和5.20亿元,市值高达481亿。值得一提的是,豪放科技为A股超等年夜 牛股,复权后股价从-0.36元涨至60多元。

2025年3月27日,胡润研究 院发布《2025胡润举世富豪榜》,豪放集团 实控人张恭运以130亿元人夷易近 币财富位列榜单第2081位。

山东高密一化工车间爆炸,为豪放集团
成员公司,实控人张恭运身价130亿,旗下豪放科技暴涨超10倍市值480亿

本文源自金融界

0

路过

0

雷人

0

握手

0

鲜花

0

鸡蛋

推广
火星云矿 | 预约S19Pro,享500抵1000!
本文暂无评论,快来抢沙发!

有招是一个优质的生活妙招创作平台,在这里,你可以任意分享你的妙招经验,日常生活、技能学习、成长励志、恋爱婚姻……我们相信,每个人都有独特的生活妙招,有着无穷的创造力。
  • 官方手机版

  • 微信公众号

  • 商务合作