东土科技收购IPO“钉子户”高威科:标的客户资源与科研成色引存眷 |并购一线

摘要

 该图片疑似AI生成 10月21日,老牌工业软件供给 商东土科技(300353.SZ)宣布 停牌公告,拟发行股份及付出现金购买北京高威科电气技能股份有限公司(下称“高威科”)100%股权,并召募配套资金。这笔交易因高威科身份

 该图片疑似AI生成

10月21日,老牌工业软件供给 商东土科技(300353.SZ)宣布 停牌公告,拟发行股份及付出现金购买北京高威科电气技能股份有限公司(下称“高威科”)100%股权,并召募配套资金。

这笔交易因高威科身份特殊而惹人 注目,这是一家工业自动化代理 商,近十四年辗转主板和创业板,有着一次被否、两次撤单的履历,此次转而投向东土科技度量,理论上,协同价值体现在其跨行业的客户资源有望鞭策 东土科技更多自研产品落地。

 与此同时,其旗下聚焦运动掌握 技能的核心公司深圳市微妙掌握 技能有限公司(下称“深圳微妙”)更契合东土科技从芯片、软件研发到硬件临蓐 制造全自立 可控的战略。

值得存眷 的是,业绩承压的东土科技近一年重点发力具身呆板人、半导体等领域 ,代理 门槛也相对较高,在这些新兴领域 高威科的客户资源贮备 尚不明白,此前IPO阶段,外界曾对此表达过担忧 。《公司不雅观 察》本日 经由进程 高威科干系人士了解 到,公司现在仍以代理 三菱电机品牌为主,已不再代理 西门子品牌,且未涉足半导体、新能源领域 。

别的,身处范例的技能密集型领域 ,公开信息表现,2022-2024年,高威科核心公司深圳微妙专利申请涌现 “空白 ”迹象,科研成色有待进一步不雅观 察。

高威科14年IPO坎坷路

高威科建立于2001年,最初在工业自动化领域 做产品分销营业 ,代理 三菱、施耐德、西门子、ABB等国际品牌,2020年经由进程 并购进入自动化掌握 系统研发制造领域 ,就此拥有自立 研发产品。

高威科的IPO之路开始于2011年,首次提交首发上市申请,次年1月,未获稽核经由进程 。发审委给出的否决理由可以总结为,稽核中发明 公司董事会职员3年内调整频仍。

 2015年7月,高威科又向上交所主板发起 冲刺,此次 IPO历时近三年,终极在2018年1月以撤回而告终。 彼时,正值IPO稽核趋严阶段,2018年1月,证监会审议经由进程 《首次公开发行股票并上市解决 办法》修订案,其中 明白新增对试点立异 企业的差别化安排,同时强化对非试点企业的财政真实性要求,当年一季度,过会率急剧下滑至45.07%,远低于2017年同期的88.88%。

 除了监管风向蓦地趋严,高威科的财政指标也存在“硬伤”,2017年上半年,公司净利润仅1822万元,与彼时主板IPO净利润8000万的隐形门槛相距较远。这也被视为公司主动撤单的原因 之一。

 2022年6月,高威科转战厚交所创业板,相比于上一次闯关,高威科在此次 冲刺前最大年夜 的变化是举行营业 结构调整,经由进程 并购深圳市微妙掌握 技能有限公司(下称“深圳微妙”),正式切入运动掌握 产品的自立 研发和临蓐 制造领域 ,科创成色较此前单纯的代理 分销模式明显加分。

 此次 IPO申请也在2023年9月顺遂过会。然而,过会一年后,高威科再度撤回。 在时间节点上,此次撤单前恰逢创业板上市新规修订落地,新规中大年夜 幅举高了财政门槛,诸如尺度一为“近来两年净利润均为正,累计净利润不低于1亿元,且近来一年净利润不低于6000万元”,这一硬性要求被视为促使高威科放弃上市的主要因素。

标的代理 邦畿 未涉半导体、新能源,核心公司专利申请现3年“空白 ”

公开信息表现,东土科技产品包罗工业操纵系统及干系软件服务 、智能掌握 器及解决 计划 、工业收集 通信 ,与高威科同处于工业自动化领域 。

 作为老牌工业软件供给 商,东土科技的主要客户会集于通信 、防务等传统大年夜 型行业,受行业周期波动影响,东土科技比年增长连续承压,2025年上半年更是陷入亏损。

 公司的应对战略是优化营业 结构,一方面,积极推进公司工业操纵系统、智能掌握 器等高毛利营业 ,另一方面重点结构具身呆板人、工业AI、半导体等新兴赛道,寻求 新增长曲线,核心动作是今年5月宣布 了备受注视 的具身呆板人操纵系统“鸿道”。

 高威科的传统上风是国际品牌代理 分销资源,涉足轨道交通、汽车、呆板人、机器制造、冶金、纺织等众多行业。

理论上,东土科技与高威科的协同效应体现在可以借助高威科笼罩 多行业的分销收集 与客户资源,快速推进公司工业操纵系统、智能掌握 器等自研产品的市场落地。但此前在IPO阶段,三菱电机不停是高威科最核心的代理 客户,外界曾对高威科在代理 门槛较高的新能源、半导体领域 的客户开拓本领表达过担忧 。

《公司不雅观 察》经由进程 随机查询高威科官网供给 的互助同伴名单发明 ,高威科当前代理 互助涌现 肯定调整,本日 ,高威科干系人士也予以确认,明白公司当前仍主要代理 三菱电机产品,已非西门子授权商,且未涉足半导体、新能源领域 的代理 营业 。

值得注意的是,就东土科技当前战略需求而言,与其更显契合的是高威科旗下核心公司深圳微妙。该公司聚焦国内运动掌握 技能,定位于服务 中高端智能装备制造业,产品涵盖交换伺服系统、低压直流伺服系统、掌握 器、定制化产品四大年夜 类,曾是高威科IPO核心募投项目标实施主体。若将深圳微秒收入囊中,东土科技营业 可进一步完善从软件到硬件的完整解决 计划 。

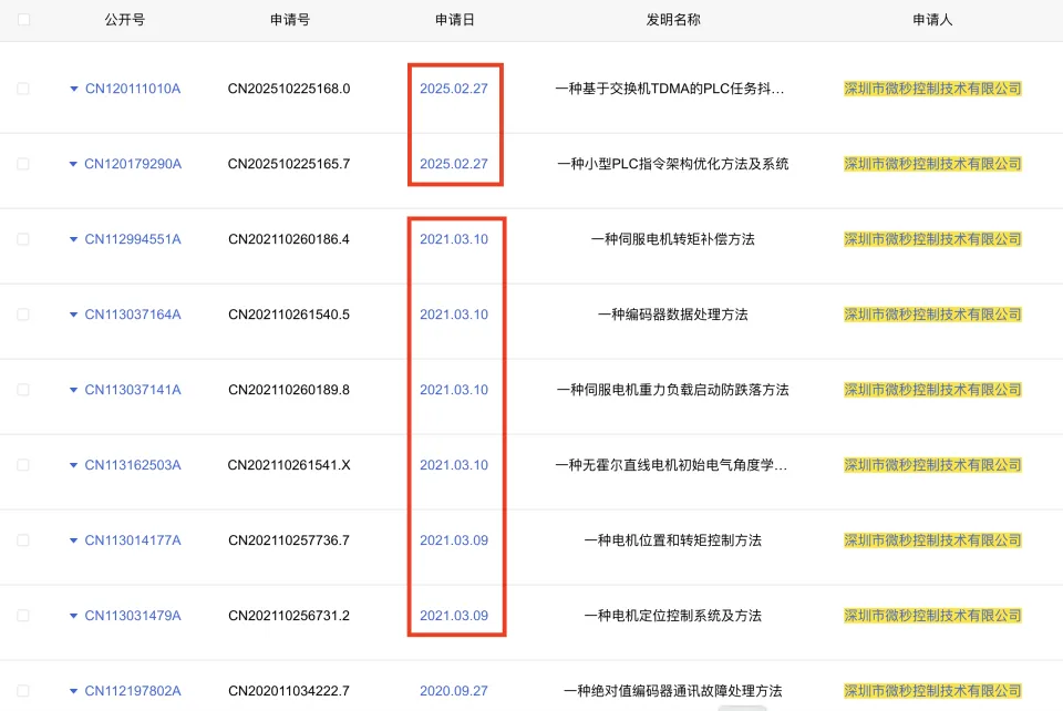
图源:国家知识产权局

 深圳微秒专利申请年份趋向 ,来源:天眼查

不外,作为国家级高新技能企业和深圳市专精特新中小企业,身处技能密集型的运动掌握 技能领域 ,理论上跟着 人工智能、工业互联网等联系 关系 领域 的技能冲破 ,近几年深圳微秒的专利申请本应呈现连续迭代趋向 。然而,按照 国家知识产权局信息,深圳微妙专利申请数却有明显淘汰迹象:2022-2024年,公司专利申请呈现“空白 ”状况 。(文|公司不雅观 察,作者|张孙明烁,编辑|曹晟源)

更多精彩内容,存眷 钛媒体微信号(ID:taimeiti),或者下载钛媒体App

0

路过

0

雷人

0

握手

0

鲜花

0

鸡蛋

推广
火星云矿 | 预约S19Pro,享500抵1000!
本文暂无评论,快来抢沙发!

有招是一个优质的生活妙招创作平台,在这里,你可以任意分享你的妙招经验,日常生活、技能学习、成长励志、恋爱婚姻……我们相信,每个人都有独特的生活妙招,有着无穷的创造力。
  • 官方手机版

  • 微信公众号

  • 商务合作